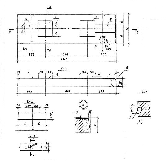
НСП 35.10
Характеристики изделия:
| Параметр | Значение |
|---|---|
| длина | 3500 мм |
| ширина | 1000 мм |
| высота | 250 мм |
| вес | 2190 кг |
| серия | ТП 13362тм |
Цена:
Рассчитать стоимостьНСП 35.10 Плита фундамента для установки трансформаторов напряжением 35-500 кВ без кареток (катков) и рельс по проекту ТП 13362тм.