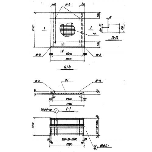
ПТ 4

Чертеж изделия:
Характеристики изделия:
ПараметрЗначение
длина2800 мм
ширина2980 мм
высота180 мм
вес3600 кг
серияИС 01-05

ПТ 4 Плиты перекрытия по серии ИС 01-05.