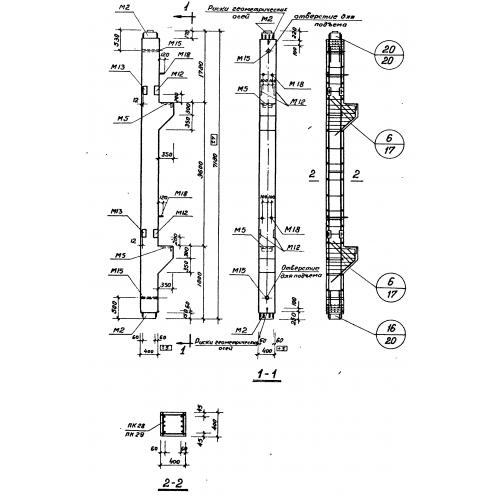
К 9

Чертеж изделия:
Характеристики изделия:
ПараметрЗначение
длина7180 мм
ширина400 мм
высота400 мм
вес3150 мм
серияИИ 22-1

К 9 Колонны по серии ИИ 22-1.