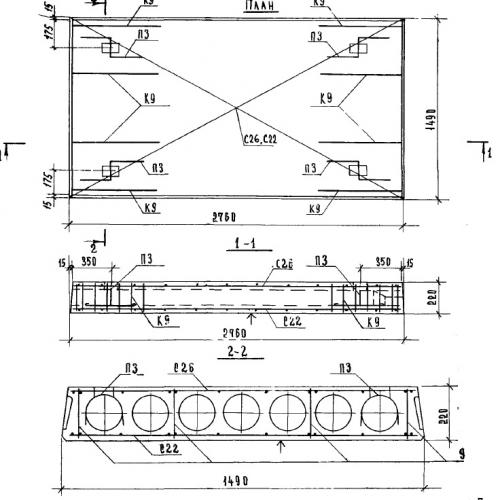
ПК 28.15 панель многопустотная
Характеристики изделия:
| Параметр | Значение |
|---|---|
| длина | 2760 мм |
| ширина | 1490 мм |
| высота | 220 мм |
| масса | 1320 кг |
| нормативный документ | Серия ИИ 04-4 |
Цена:
Рассчитать стоимостьПК 28.15 Плиты (панели) многопустотные по Серии ИИ 04-4.
| Параметр | Значение |
|---|---|
| длина | 2760 мм |
| ширина | 1490 мм |
| высота | 220 мм |
| масса | 1320 кг |
| нормативный документ | Серия ИИ 04-4 |
ПК 28.15 Плиты (панели) многопустотные по Серии ИИ 04-4.
