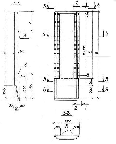
2ПС 90.3-1к

Чертеж изделия:
Характеристики изделия:
ПараметрЗначение
Длина1970 мм
Ширина300 мм
Высота10000 мм
Масса12680 кг
Нормативный документСерия 3.901.1-14

2ПС 90.3-1к   Панель стеновая по Серии 3.901.1-14.

Маркировка

2 - опускной способ производства работ;

ПС - панель стеновая;

90 - длина стеновой панели в дм;

3 - толщина стеновой панели в дм;

1 - тип армирования;

к - вариант с клиновидным стыком.