КГ 12

Чертеж изделия:
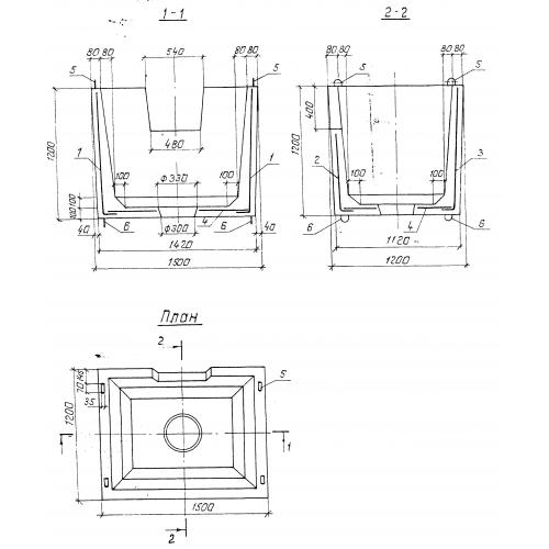
Характеристики изделия:
ПараметрЗначение
длина1500 мм
ширина1200 мм
высота1200 мм
вес1800 кг
серия3.820-9

КГ Колодцы-гасители по серии 3.820-9.