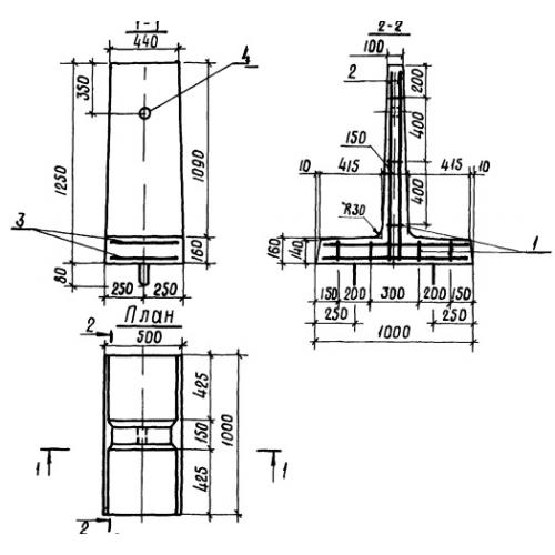
Т-10

Чертеж изделия:
Характеристики изделия:
ПараметрЗначение
длина500 мм
ширина1000 мм
высота1250 мм
масса358 кг
нормативный документСерия 3.820-6

Т-10 Гасители по Серии 3.820-6.