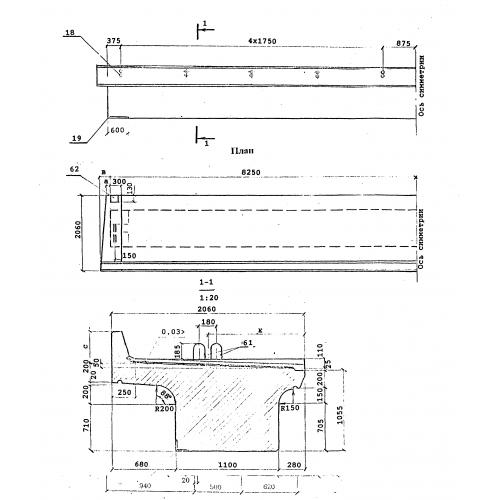
БП 1.165

Чертеж изделия:
Характеристики изделия:
ПараметрЗначение
длина16500 мм
ширина2060 мм
высота1680 мм
вес62400 кг
серия3.501.1-175.93

БП 1.165 Плитные балки по серии 3.501.1-175.93.