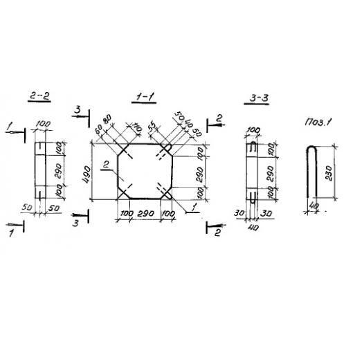
П-1 блок укрепления

Чертеж изделия:
Характеристики изделия:
ПараметрЗначение
длина490 мм
ширина490 мм
высота100 мм
вес57,5 кг
серия3.501.1-156

П-1 Блоки укрепления  по серии 3.501.1-156.