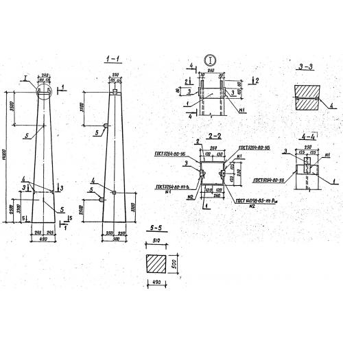
ВС 140-257 Стойки конические прямоугольного сечения
Характеристики изделия:
| Параметр | Значение |
|---|---|
| длина | 14000 мм |
| ширина | 510 мм |
| высота | 500 мм |
| масса | 5150 кг |
| нормативный документ | Серия 3.407.1-157 |
Цена:
Рассчитать стоимостьВС 140-257 Вибропресованные стойки по Серии 3.407.1-157.
