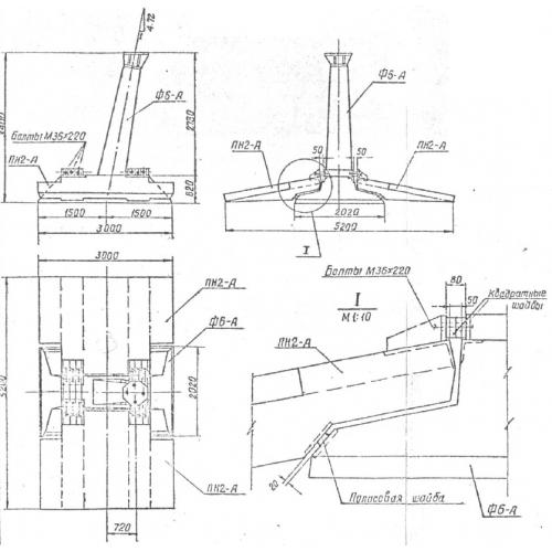
ФС 2 Фундаменты составные

Чертеж изделия:
Характеристики изделия:
ПараметрЗначение
длина3000 мм
ширина5200 мм
высота3400 мм
масса11600 кг
нормативный документСерия 3.407-115

ФС 2 Фундаменты сборные Серия 3.407-115.