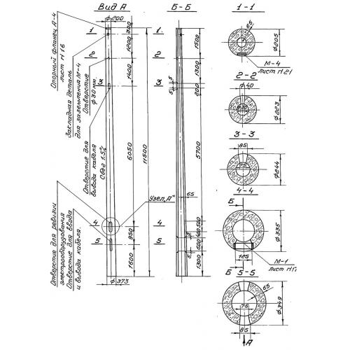
СНЦс 3.4-11.5 Стойки центрифугированные
Характеристики изделия:
| Параметр | Значение |
|---|---|
| длина | 11500 мм |
| ширина | 373 мм |
| высота | 373 мм |
| масса | 1400 кг |
| нормативный документ | Серия 3.320-1 |
Цена:
Рассчитать стоимостьСНЦс 3.4-11.5 Центрифугированные стойки наружного освещения Серия 3.320-1.
