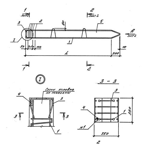
СУ 12-35
Характеристики изделия:
| Параметр | Значение |
|---|---|
| длина | 12000 мм |
| ширина | 350 мм |
| высота | 350 мм |
| масса | 3730 кг |
| нормативный документ | Серия 3.016.1-9 |
Цена:
Рассчитать стоимостьСУ 12-35 Сваи-колонны усиленного армирования (для особых климатических условий) Серия 3.016.1-9.
