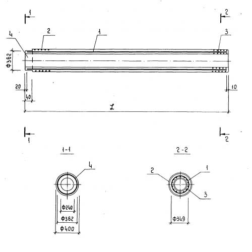
СК 12-40
Характеристики изделия:
| Параметр | Значение |
|---|---|
| длина | 12000 мм |
| ширина | 400 мм |
| высота | 400 мм |
| вес | 2410 кг |
| серия | 3.015-5/86 |
Цена:
Рассчитать стоимостьСК 12-40 Сваи полые круглые по серии 3.015-5/86.
| Параметр | Значение |
|---|---|
| длина | 12000 мм |
| ширина | 400 мм |
| высота | 400 мм |
| вес | 2410 кг |
| серия | 3.015-5/86 |
СК 12-40 Сваи полые круглые по серии 3.015-5/86.
