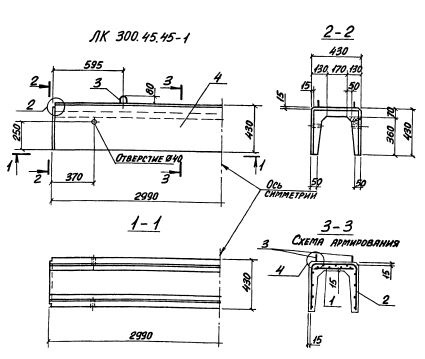
ЛК 300.45.45 лотки

Чертеж изделия:
Характеристики изделия:
ПараметрЗначение
длина2990 мм
ширина430 мм
высота430 мм
масса600 кг
нормативный документСерия 3.006.1-8

ЛК 300.45.45  Лотки каналов Серия 3.006.1-8.