ПВ

Чертеж изделия:
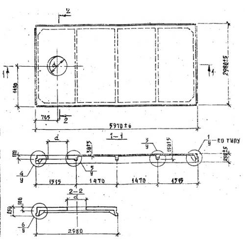
Характеристики изделия:
ПараметрЗначение
длина5970 мм
ширина2980 мм
высота250 мм
вес2150 кг
серия1.865.1-4/80

ПВ плиты ребристые с проемом  по серии 1.865.1-4/80.