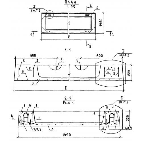
ПР 63.15

Чертеж изделия:
Характеристики изделия:
ПараметрЗначение
длина6280 мм
ширина1490 мм
высота220 мм
вес2350 кг
серия1.242.1-3

ПР 63.15 Плиты ребристые по серии 1.242.1-3.