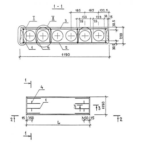
ПК 30.12 Плиты перекрытия железобетонные многопустотные

Чертеж изделия:
Характеристики изделия:
ПараметрЗначение
длина2980 мм
ширина1190 мм
высота220 мм
масса1080 кг
нормативный документСерия 1.141-1

ПК 30.12  Плиты перекрытия железобетонные многопустотные Серия 1.141-1.