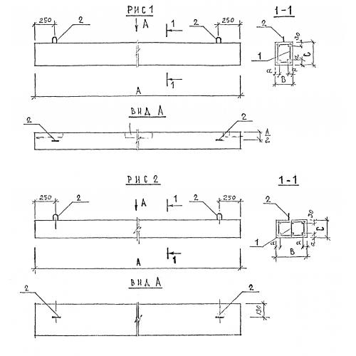
Б 32.38.22

Чертеж изделия:
Характеристики изделия:
ПараметрЗначение
длина3200 мм
ширина380 мм
высота220 мм
вес670 кг
серия1.126.1 КЛ-1

Б 32.38.22 Балки по серии 1.126.1 КЛ-1.