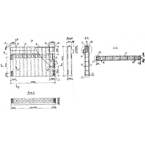
ВД 20-30-30 вентиляционные блоки

Чертеж изделия:
Характеристики изделия:
ПараметрЗначение
длина2980 мм
ширина425 мм
высота1970 мм
масса3000 кг
нормативный документСерия 1.034.1-1/90

ВД 20-30-30  Вентблоки-диафрагмы жесткости Серия 1.034.1-1/90.