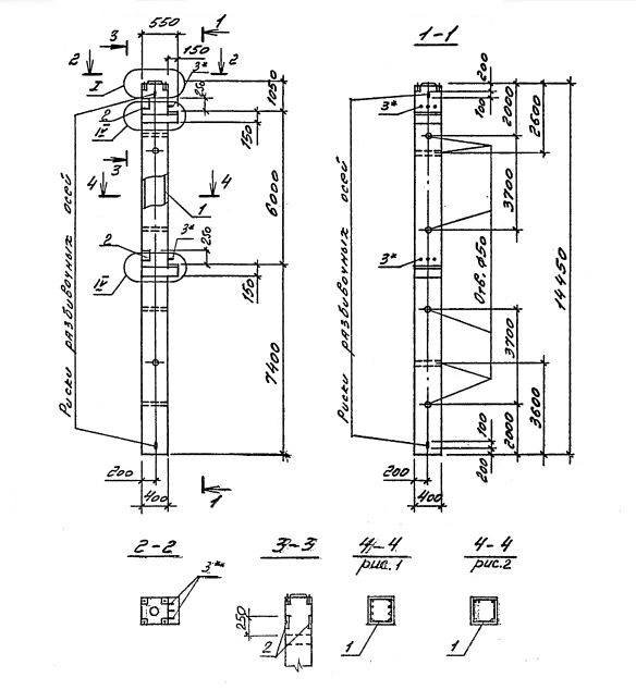
2КНО 60.72
Характеристики изделия:
| Параметр | Значение |
|---|---|
| длина | 14450 мм |
| ширина | 400 мм |
| высота | 550 мм |
| масса | 5820 кг |
| нормативный документ | Серия 1.020.1-4 |
Цена:
Рассчитать стоимость2КНО 60.72 Колонны одноконсольные для нижних этажей (Серия 1.020.1-4).
Маркировка с учетом диаметра угловых и промежуточных стержней арматуры, в мм. и марки бетона:
2КНО 60.72-3.20.00
2КНО 60.72-3.25.00
2КНО 60.72-3.28.00
2КНО 60.72-3.32.00
2КНО 60.72-4.32.00
2КНО 60.72-5.32.00
2КНО 60.72-3.36.00
2КНО 60.72-4.36.00
2КНО 60.72-5.36.00
2КНО 60.72-4.40.00
2КНО 60.72-5.40.00
2КНО 60.72-5.32.28
2КНО 60.72-6.32.28
2КНО 60.72-5.36.32
2КНО 60.72-6.36.32
2КНО 60.72-6.40.36
2КНО 60.72-6.40.40
2КНО 60.72-5.32.20